
最近一段时间,有好几个咨询,都是落户失败案例,且相关信息都关联到同一个机构。@上海落户落沪信息随手查了一下,还真是吓了一跳。分析结果如下,条友们自行判断。案例一这个条友咨询时,我还一头雾水,不知道人才......
最近一段时间,有好几个咨询,都是落户失败案例,且相关信息都关联到同一个机构。@上海落户落沪信息随手查了一下,还真是吓了一跳。分析结果如下,条友们自行判断。
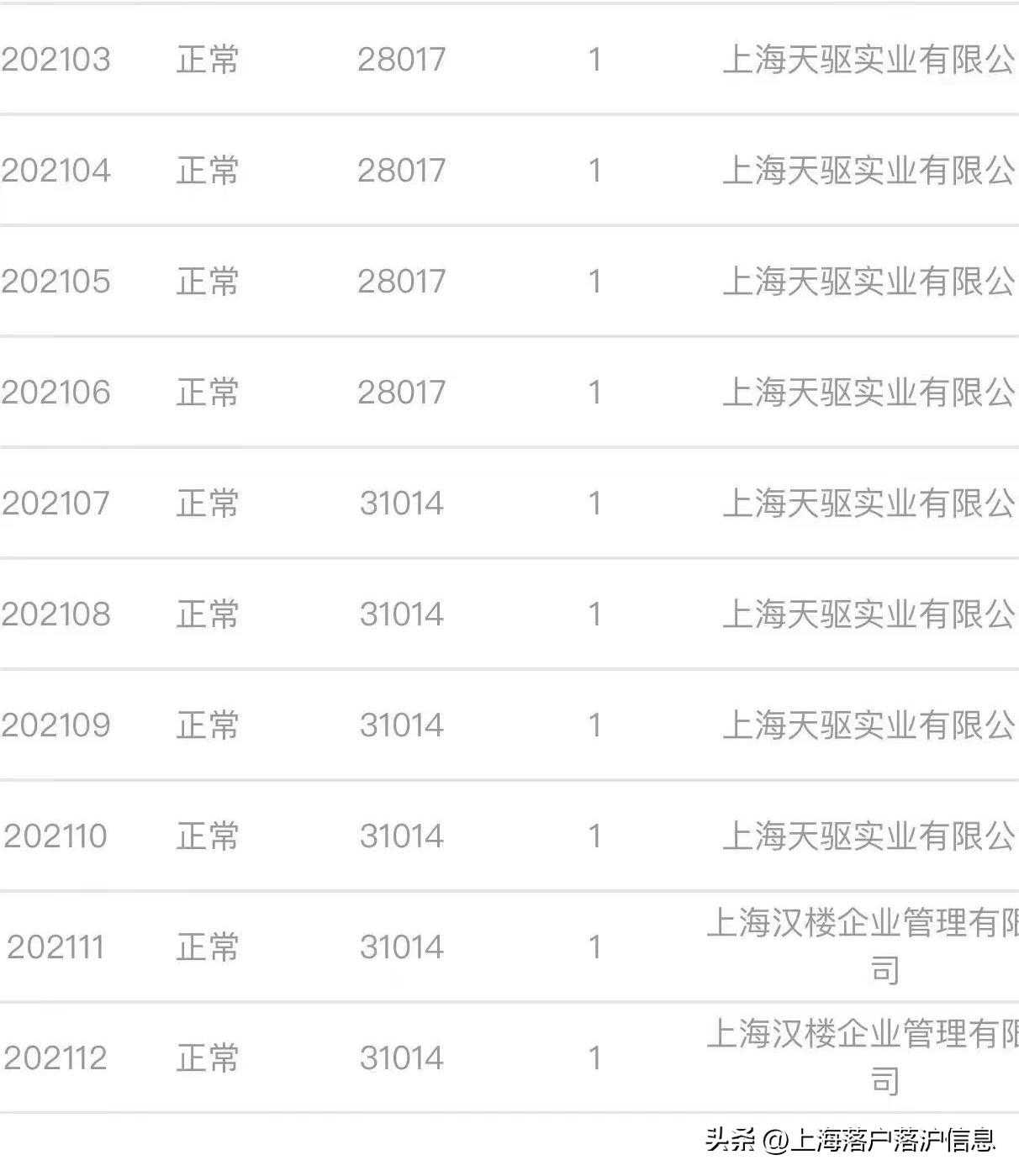
案例一

这个条友咨询时,我还一头雾水,不知道人才中心老师为什么要扣除这部分的社保缴费时间?难道是社保缴费低?还是说社保个税不匹配?不一致?详细询问客户后得知,这部分时间恰好是这个机构代缴社保并办理落户,但很不幸没成功。

查看了条友的社保个税记录,七年时间都是两倍以上,近三年三倍,自己申办完全没有问题,但是到目前为止,他还没落户成功!!!
查了一下工商信息,天驱和汉楼以及这两家公司的法人、股东名下公司,在22年6月份全部变更了名称和注册地,看来人才中心早就盯上了他们,拉入黑名单。但是,之前社保缴费单位,不会随着工商信息的变更而更改。这也是,上面人才中心回复扣除10个月累计时间的原因,虽然社保个税一致,3倍顶格缴纳。


主体公司是某首,经常看到抖音广告,有兴趣的朋友可以再去查一下,关联公司有20来家,一定要规避掉这个坑。
案例二
上面是居转户的,下面这个是人才引进,预受理期就被人举报挂靠社保,大概率公司和个人都要被拉黑。


这里面23个人,如果是想落户的朋友,不知道内心慌不慌!
以上只是说,想要落户上海,尽量不要找挂靠单位缴纳社保,实再不行,也要规避掉这些机构,正常小微企业平均一两年有一个申请落户的是合理的,一年申请好几个虽然不能说不正常,但不是常态。但如果员工落户完两三个月就离职,这种公司肯定会被纳入重点监管,严格审核的。
本文仅说明挂靠社保的危害性,不质疑各大落户机构的专业能力,不喜勿喷,谢谢!